0
登录后你可以
  • 下载海量资料
  • 学习在线课程
  • 观看技术视频
  • 写文章/发帖/加入社区
会员中心
创作中心
发布
  • 发文章

  • 发资料

  • 发帖

  • 提问

  • 发视频

创作活动
VEGF72-4R7M

VEGF72-4R7M

  • 厂商:

    VOLUMESOURCE(千代源)

  • 封装:

    IND_8.3X8MM_SM

  • 描述:

    功率电感 4.7µH ±20% 160mΩ IND_8.3X8MM_SM

  • 数据手册
  • 价格&库存
VEGF72-4R7M 数据手册
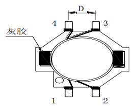
Page: 1/4 客 户 Z101 CUSTOMER 承 认 书 SPECIFICATION FOR APPROVAL 客户品名 料 号 CURS.PART NAME. PART NO. 本公司品名 料 号 OURS PART NAME. VEGF72-4R7M PART NO. 工程出图 FIA07200-09 承认印 ENGINEERING DRAWING CUSTOMER APPROVE 发行 检查 承认 MADE CHECKED APPROVED 采 购 工 程 品 保 承认结果:请予以认证,提出修改意见或确认 后签回,如未签回下订单,则是视为默认。 日期 DATE: 2015 年 11 月 10 日 深圳市千代源电子有限公司 SHEN ZHEN VOLUME SOURCE ELECTRONICS CO.,LTD. 地址:东莞市凤岗天安数码城 T5-N4 栋 16 楼. Tel: 0769-89891993 Fax: 0769-89891993-806 HOME: http://www.volumesz.com.cn 承 认 书 番 号 SPEC NO. VE-Z101-20151110002 TEST Page: 2/4 DATA ITEM VEGF72-4R7M DATE PART NO. FIA07200-09 WINDING TEST INTRUMENTS 3320 综合测试仪;CALLIPERS 10 PCS WIRE: 2UEWφ 0.15*2P*14.5TS 100kHz/0.25V FREQUENCY 25 ℃ TEMP Q’TY 2015-11-10 HUMIDITY 70% ELECTRICAL CHARACTERISTIC DIMENSION (unit:mm) (1-2) L0A (µH) IDC 1.0A(µH) (4-3) L0A (µH) IDC 1.0A(µH) (1-2) (4-3) ITEM DCR(Ω ) DCR(Ω ) SPEC 4.7±20% ≧L0Ax0.8 4.7±20% ≧L0Ax0.8 0.16Max 1 4.57 4.43 4.58 4.46 2 4.64 4.31 4.59 3 4.55 4.40 4 4.53 5 A B B 0.16Max 8.00Max 8.50Max 2.60Max 0.13 0.13 7.72 5.09 2.53 4.44 0.13 0.13 7.73 5.09 2.50 4.61 4.48 0.12 0.12 7.69 5.10 2.55 4.41 4.58 4.40 0.13 0.13 7.70 5.10 2.55 4.55 4.50 4.52 4.41 0.14 0.14 7.71 5.11 2.48 6 4.62 4.52 4.63 4.44 0.13 0.13 7.71 5.09 2.52 7 4.57 4.49 4.56 4.48 0.13 0.13 7.73 5.08 2.55 8 4.67 4.60 4.62 4.55 0.12 0.13 7.75 5.11 2.51 9 4.50 4.47 4.52 4.40 0.13 0.13 7.67 5.11 2.49 10 4.56 4.46 4.60 4.38 0.13 0.13 7.67 5.10 2.51 1.形状寸法(单位:mm) 2.联机方式(底部) C B A D 4 3 灰胶 1 A 8.0MAX B 8.3MAX C 2.6MAX D 2.5±0.3 2 比例 单位 工程部 不定 mm 2015-11-10 1 3 2 4 APPROVED: CHECKED: DESIGN: 制 品 仕 样 书 Page:3/4 三.包装方式 1. 每卷轴包装数量:1800PCS/R (开始留空 32PCS~结尾留空 42PCS 不装产品), 贴上正确的标签, 然后 放入一 PE 袋内,附一包干燥剂,封口.卷轴及载带尺寸.如图(一) 图(一) 卷轮尺寸(REEL DIMENSIONS)一般公差±0.5mm A Ф 330 B Ф 100 C Ф 13.5 W 16.5 D 22.5 载带尺寸(TAPE DIMENSIONS)一般公差为±0.2mm W A0 B0 K0 P F E D P0 P2 16.00 5.40 8.00 3.05 12.00 7.50 1.75 1.50 4.00 2.00 2.每 PE 袋装 1800PCS(1 卷).( PE 装尺寸: 48.5cm*42.5cm*0.008cm) 3.每箱装 10800PCS(4 卷),封口,贴上标签,(纸箱形状尺寸: 35cm*35cm*22cm) 如图(二). T 0.30 深 圳 市 千 代 源 电 子 有 限 公 司 制品仕样书 GENERAL CHARACTERISTICS 1.STORAGE TEMPERATURE: 贮存温度范围 2.OPERATING TEMPERATURE RANGE : 使用温度范围: 3.EXTERNAL APPEARANCE : 外观 TYPE: VEGF72-4R7M Page: 4/4 -40℃~+105℃ -40℃~+105℃(CONTAIN HEATING COIL) NO EXTERNAL DEFECTS CAN BE FOUND IN THE VISUAL INSPECTION. 在线圈表面无有害物质附着 4. TERMINAL STRENGTH : 电极强度 NO TERMINAL DETACHMENT SHOULD BE FOUND WHEN THE DEVICE IS PUSHED IN TWO DIRECTIONS OF X AND Y WITH THE FORCE OF 5.0N FOR 10±2 SECONDS AFTER SOLDERING BETWEEN COPPER PLATE AND THE TERMINALS.(REFER TO FIGURE AT RIGHT) 将线圈的电极面与铜板焊接后,在 X 与 Y 方向 施加 2KG 的静加重 10±2sec,电极面不会脱落。(参照右图) 5.HEAT ENDURANCE TEST : 回焊耐热测试 REFER TO FIGURE ONE. 参照耐热试验条件图/建议回焊条件图 6.INSULATING RESISTANCE : THE INSULATION RESISTANCE SHOULD BE OVER 100M Ω WHEN D.C.100V IS APPLIED TO THE WINDING –CORE. MEANWHILE NO STRUCTURE AND ELECTRIC 绝缘 DEFECTS SHOULD BE FOUND FOR 1 MINUTE. 在线圈和铁芯上印加 D.C. 100V 绝缘电阻必须超过 100MΩ ,保持 1min,没有短路发生 7. TEMPERATURE FEATURE: INDUCTANCE COEFFICIENT IS (0~2000)x10-6(-25~+85℃) 温度特性 电感的温度系数为(0~2000)x10-6/℃(-25~+85℃) : 8. HUMIDITY TEST 湿度测试 INDUCTANCE DEVIATION IS WITHIN ±5.0% AND NO STRUCTURE AND ELECTRIC DEFECTS CAN BE FOUND AFTER 96 HOURS TEST UNDER THE CONDITIONOF RELATIVE HUMIDITY OF 90~95% AND TEMPERATURE OF 40±2℃. AND 1 HOUR STORAGE UNDER ROOM AMBIENT CONDITIONS AFTER THE DEVICE IS WIPED WITH DRY CLOTH. 相对湿度为 90~95%,温度为 40±2℃的条件下放置 96 小时。将其擦干在室内环境下放置 1 小时,电感值变化在初始值±5.0%内,结构以及电气特性没有发生变化。 9. VIBRATION TEST : 耐震测试 INDUCTANCE DEVIATION IS WITHIN ± 5.0 % AFTER 1 HOUR SWEEPING VIBRATION IN EACH THREE DIRECTIONS. NAMELY, FREQUENCY IS 10~55~10Hz ANDTHE AMPLITUDE OF 1MINUTE CYCLE IS 1.5mm PP. 振动周波数 10~55~10Hz,振幅 1.5m/m 在三个方向各保持一个小时,电感值变化在初始 值±5.0%内 10.SHOCK TEST 耐冲击测试 : INDUCTANCE DEVIATION IS WITHIN ±5.0% AFTER THE TEST WITH GOM-BLOCK SHOCK TESTING MACHINE,ONCE IN EACH OF THE THREE PERPENDICULAR AXIS DIRECTIONS. THE SHOCK ACCELERATION IS 981m/s 2. 用 GOM-BLOCK 振动测试仪器在垂直的坐标轴方向测试,电感值变化在初始值±5.0%内。冲 击加速度为 981m/s2 深 圳 市 千 代 源 电 子 有 限 公 司
VEGF72-4R7M 价格&库存

很抱歉,暂时无法提供与“VEGF72-4R7M”相匹配的价格&库存,您可以联系我们找货

免费人工找货
VEGF72-4R7M
  •  国内价格
  • 5+0.37350
  • 20+0.33975
  • 100+0.30600
  • 500+0.27225
  • 1000+0.25650
  • 2000+0.24525

库存:0